
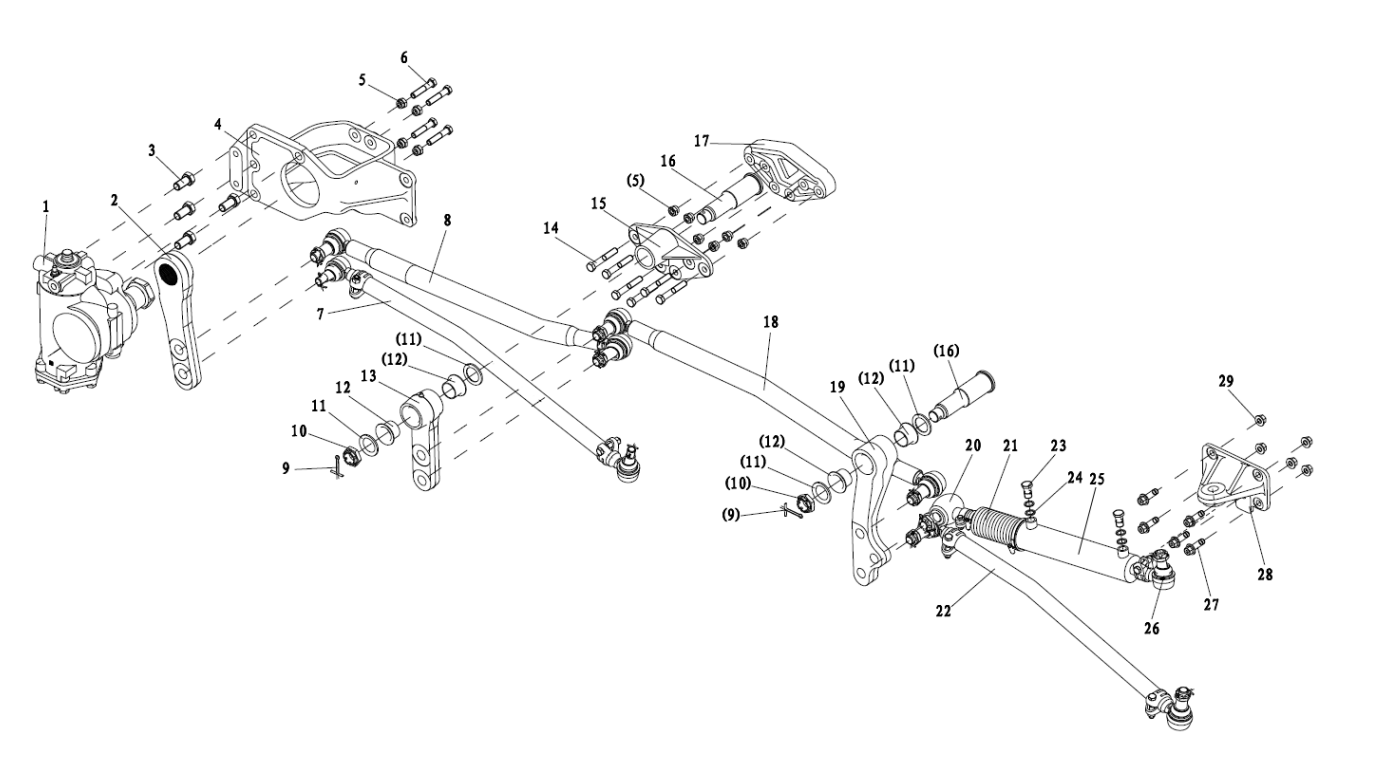
| 21 | Q150B1020 | Hex screw | 1 | ||||||||||||||||||||||||||||||
| 22 | Q33210 | Locking nut | 2 | ||||||||||||||||||||||||||||||
| 23 | DZ91189470001 | Bracket | 1 | ||||||||||||||||||||||||||||||
| 24 | Q150B1025 | Hex screw | 3 | ||||||||||||||||||||||||||||||
| 25 | DZ9100470044 | Hose | 1 | ||||||||||||||||||||||||||||||
| 26 | Q67632 | Clip | 2 | ||||||||||||||||||||||||||||||
| 27 | DZ93319130004 | Hydraulic pump | 1 | ||||||||||||||||||||||||||||||
| 28 | 190003098031 | Seal-washer | 2 | ||||||||||||||||||||||||||||||
| 29 | 199100470076 | Ring-joint | 1 | ||||||||||||||||||||||||||||||
| 30 | 190003962651 | Hollow screw | 1 | ||||||||||||||||||||||||||||||
| 31 | DZ95319470030 | Delivery line | 1 | ||||||||||||||||||||||||||||||
| 32 | 118800730187 | Pipe clamp | 3 | ||||||||||||||||||||||||||||||
| 33 | DZ9118470031 | Bracket | 3 | ||||||||||||||||||||||||||||||
| 34 | Q150B0635 | Hex screw | 3 | ||||||||||||||||||||||||||||||
| 35 | Q40210 | Washer | 3 | ||||||||||||||||||||||||||||||
| 36 | Q150B1035 | Hex screw | 2 | ||||||||||||||||||||||||||||||