
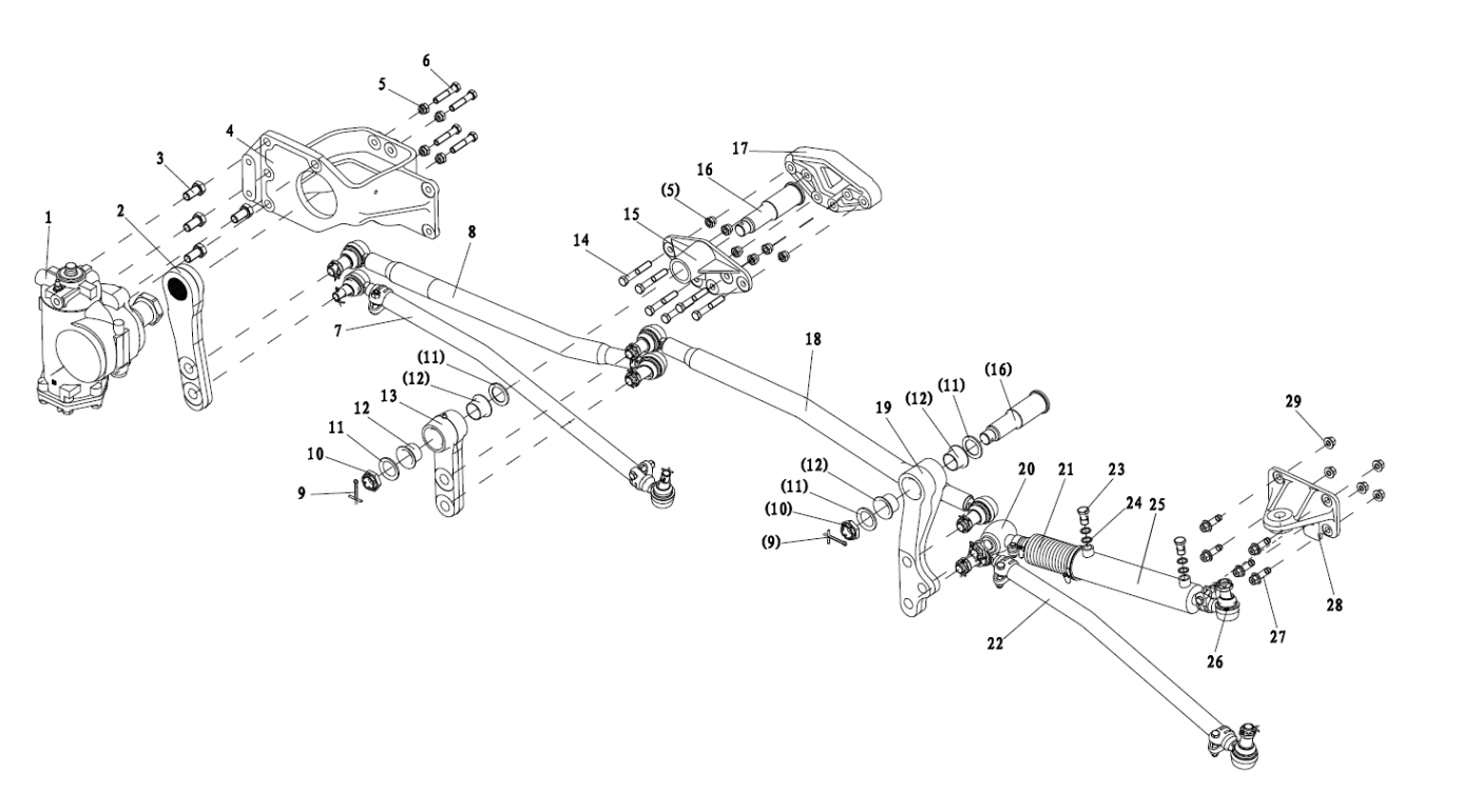
| 1 | Q151B1460TF2 | Hex screw | 4 | ||||||||||||||||||||||||||||||
| 2 | 190003888458 | Locking nut | 4 | ||||||||||||||||||||||||||||||
| 3 | Q151B1660TF2 | Hex screw | 4 | ||||||||||||||||||||||||||||||
| 4 | 190003888459 | Locking nut | 4 | ||||||||||||||||||||||||||||||
| 5 | Q151B2040TF2 | Hex screw | 5 | ||||||||||||||||||||||||||||||
| 6 | DZ95259470021 | Steering gear bracket | 1 | ||||||||||||||||||||||||||||||
| SZ943000714 | bracket | 1 | |||||||||||||||||||||||||||||||
| 7 | DZ9114470075 | Steering gear | 1 | ||||||||||||||||||||||||||||||
| 8 | DZ93259470002 | Drop arm | 1 | ||||||||||||||||||||||||||||||
| 9 | DZ95259430002 | Drag link | 1 | ||||||||||||||||||||||||||||||