
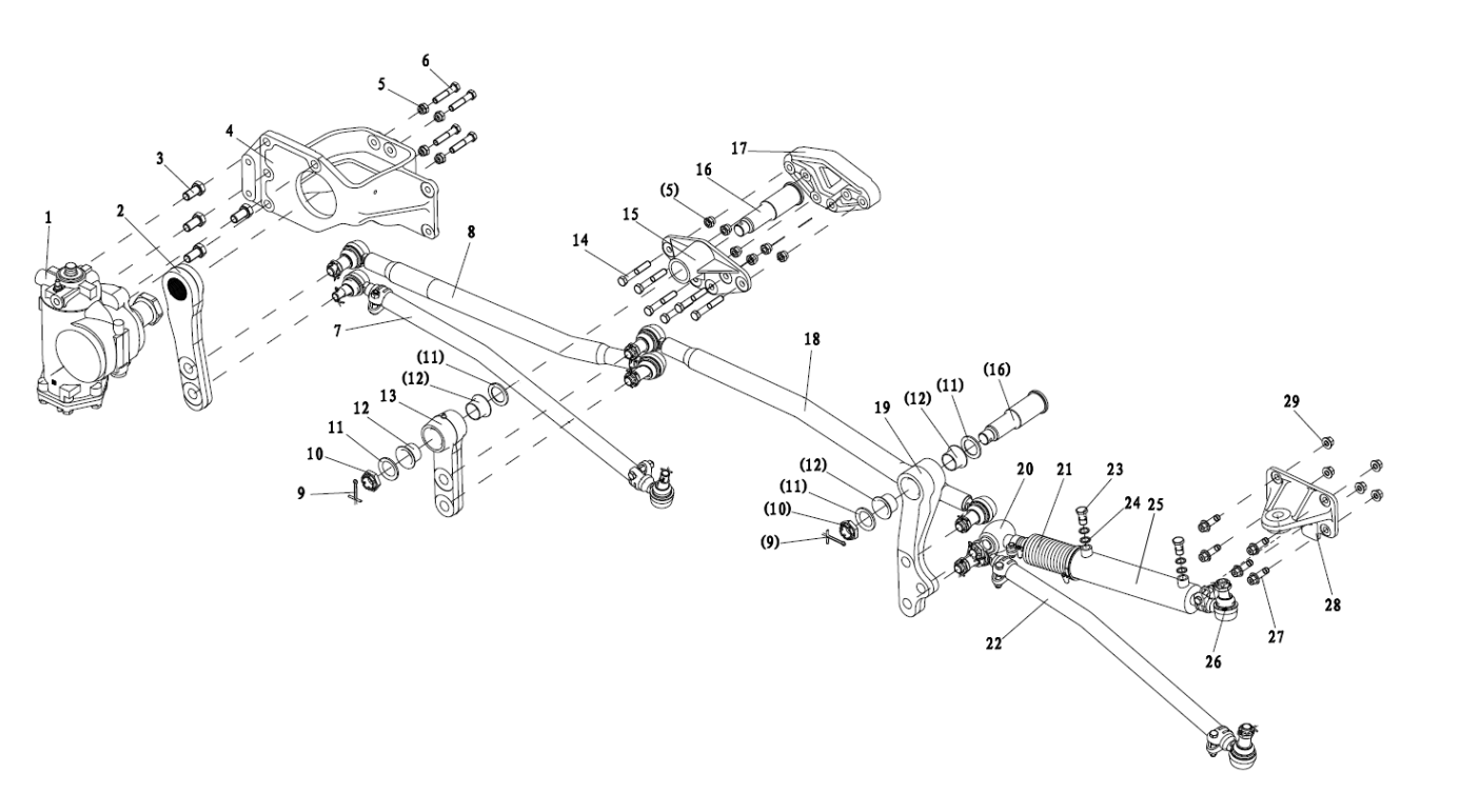
| 1 | 250-3408017 | Hollow screw | 1 | ||||||||||||||||||||||||||||||
| 2 | Q72318T5F | Seal-washer | 12 | ||||||||||||||||||||||||||||||
| 3 | DZ9100470013 | Screwing | 1 | ||||||||||||||||||||||||||||||
| 4 | 190003962632 | Hollow screw | 5 | ||||||||||||||||||||||||||||||
| 5 | DZ93319470005 | Delivery line | 1 | ||||||||||||||||||||||||||||||
| 6 | Q676B25 | Clip | 2 | ||||||||||||||||||||||||||||||
| 7 | DZ9100470141 | Rubber hose | 1 | ||||||||||||||||||||||||||||||
| 8 | DZ91189470004 | Pipe | 3 | ||||||||||||||||||||||||||||||
| 9 | DZ91189470003 | Pipe | 1 | ||||||||||||||||||||||||||||||
| 10 | Q150B0630 | Hex screw | 1 | ||||||||||||||||||||||||||||||
| 11 | Q40206 | Washer | 5 | ||||||||||||||||||||||||||||||
| 12 | Q40506 | Spring washer | 5 | ||||||||||||||||||||||||||||||
| 13 | Q340B06 | Nut | 5 | ||||||||||||||||||||||||||||||
| 14 | Q150B0616 | Hex screw | 1 | ||||||||||||||||||||||||||||||
| 15 | 138091360181 | Clip | 1 | ||||||||||||||||||||||||||||||
| 16 | 161000060211 | Rubber hose | 1 | ||||||||||||||||||||||||||||||
| 17 | 190000360315 | Bracket | 1 | ||||||||||||||||||||||||||||||
| 18 | DZ9100470024 | High pressure hose | 1 | ||||||||||||||||||||||||||||||
| 19 | DZ91319470190 | Oil container assy | 1 | ||||||||||||||||||||||||||||||
| 20 | DZ9100470040 | Bracket assy | 1 | ||||||||||||||||||||||||||||||