
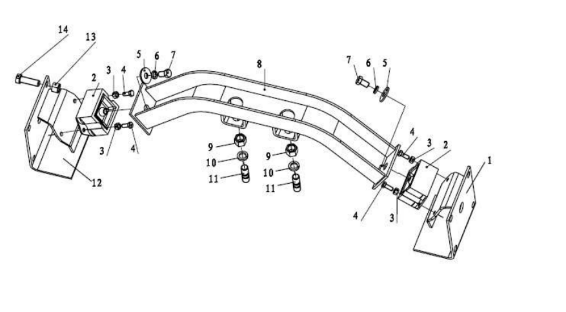
| 1 | DZ96259590310 | Left bracket assembly | 1 | |||||||||||||||||||||||||||||||||
| 2 | 168000590095 | Engine front support (rubber metal support) | 2 | |||||||||||||||||||||||||||||||||
| 3 | Q33208 | Type 2 all metal hexagonal lock nut | 4 | |||||||||||||||||||||||||||||||||
| 4 | Q150B0820Q | hex head bolt | 4 | |||||||||||||||||||||||||||||||||
| 5 | 1480A0360058 | washer | 2 | |||||||||||||||||||||||||||||||||
| 6 | Q40312 | spring washer | 2 | |||||||||||||||||||||||||||||||||
| 7 | Q150B1220Q | hex head bolt | 2 | |||||||||||||||||||||||||||||||||
| 8 | AZ9112590099 | Beam assembly | 1 | |||||||||||||||||||||||||||||||||
| 9 | Q341B16 | Type 1 hex nut | 2 | |||||||||||||||||||||||||||||||||
| 10 | Q40316 | spring washer | 2 | |||||||||||||||||||||||||||||||||
| 11 | Q1231630 | double-ended stud | 2 | |||||||||||||||||||||||||||||||||
| 12 | DZ96259590311 | Right bracket assembly | 1 | |||||||||||||||||||||||||||||||||
| 13 | Q33208 | Type 2 all metal hexagonal lock nut | 4 | |||||||||||||||||||||||||||||||||
| 14 | Q150B0820Q | hex head bolt | 4 | |||||||||||||||||||||||||||||||||