
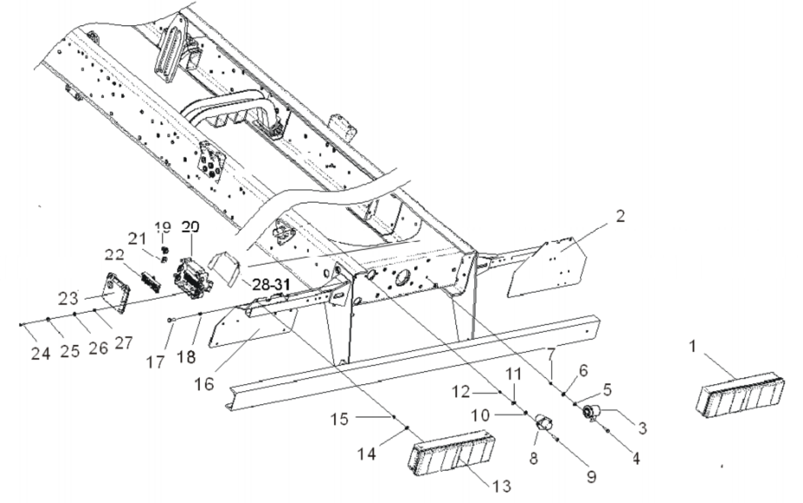
| 19 | DZ91189777021 | Junction box body | 1 | ||||||||||||||||
| 20 | 179100770395 | Wiring jacket | on demand | ||||||||||||||||
| 21 | 190003120032 | Cyl seal bar | on demand | ||||||||||||||||
| 22 | 179100770391 | Electric box | 1 | ||||||||||||||||
| 23 | 179100770394 | Junction box cover | 1 | ||||||||||||||||
| 24 | Q150B0630 | Hex bolt | 2 | ||||||||||||||||
| 25 | Q40506 | Spring washer | 2 | ||||||||||||||||
| 26 | Q40206 | Washer | 2 | ||||||||||||||||
| 27 | Q340B06 | Hexagon nut | 2 | ||||||||||||||||
| 28 | DZ9100770393 | Box bracket assembly | 1 | ||||||||||||||||
| 29 | Q40308 | Spring washer | 1 | ||||||||||||||||
| 30 | Q40208 | Big washer | 1 | ||||||||||||||||
| 31 | Q150B0830 | Hex bolt | 1 | ||||||||||||||||