
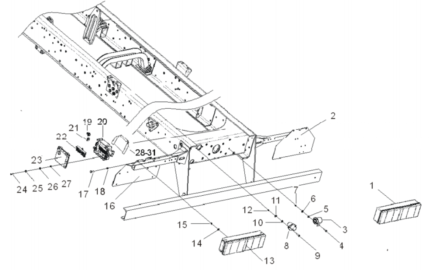
| 1 | DZ9200810020 | New combination of T/side marker lights with 7 functions | 1 | |||||||||||
| 2 | DZ9100940220 | Rear light (right) MAN chassis right taillight bracket assembly |
1 | Dump truck, cargo truck | ||||||||||
| 3 | DZ9100580050 | Reversing Buzzer | 1 | |||||||||||
| 4 | Q150B0625 | hex head bolt | 1 | |||||||||||
| 5 | Q40106 | flat washer | 1 | |||||||||||
| 6 | Q40306 | spring washer | 1 | |||||||||||
| 7 | Q340B06 | Type 1 hex nut | 1 | |||||||||||
| 8 | 81.25432.6121 | 7-hole 24N trailer socket (with cable) | 1 | |||||||||||
| 9 | Q150B0820 | hex head bolt | 2 | |||||||||||
| 10 | Q40108 | flat washer | 2 | |||||||||||
| 11 | Q40308 | spring washer | 2 | |||||||||||
| 12 | Q340B08 | Type 1 hex nut | 2 | |||||||||||
| 13 | DZ9200810019 | New combination of T/side marker lights with 7 functions Rear light (left) |
1 | |||||||||||
| 14 | 06.16160.2105 | Locking gasket (8-A3C) | 4 | |||||||||||
| 15 | Q340B08 | Type 1 hex nut | 4 | |||||||||||
| 16 | DZ9100940210 | MAN chassis left taillight bracket assembly | 1 | Dump truck, cargo truck | ||||||||||
| 17 | Q150B1435 | hex head bolt | 6 | |||||||||||
| 18 | Q33414 | Type 1 all metal locking nut | 6 | |||||||||||