
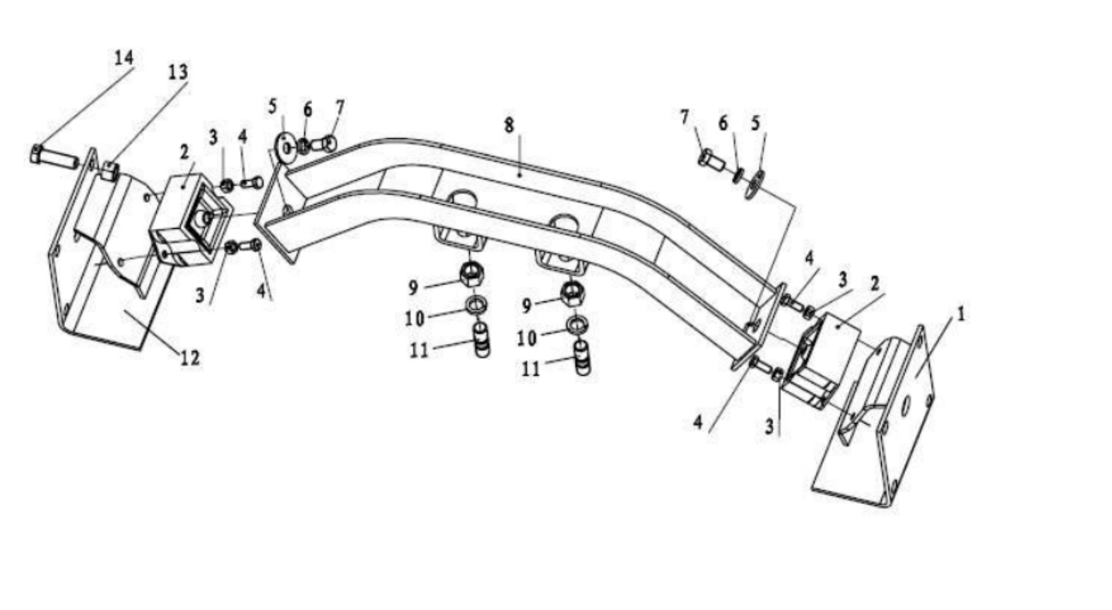
| 1 | DZ9114598695 | Left bracket assembly | 1 | SX1165UM461 | ||||||||||||||
| 2 | 168000590095 | Engine front support (rubber metal support) | 2 | |||||||||||||||
| 3 | Q33208 | Type 2 all metal hexagonal lock nut | 4 | |||||||||||||||
| 4 | Q150B0820Q | hex head bolt | 4 | |||||||||||||||
| 5 | 1480A0360058 | washer | 2 | |||||||||||||||
| 6 | Q40312 | spring washer | 2 | |||||||||||||||
| 7 | Q150B1220Q | hex head bolt | 2 | |||||||||||||||
| 8 | AZ9112590099 | Beam assembly | 1 | |||||||||||||||
| 9 | Q341B16 | Type 1 hex nut | 2 | Equipped with a gearbox belt | ||||||||||||||
| 10 | Q40316 | spring washer | 2 | Equipped with a gearbox belt | ||||||||||||||
| 11 | Q1231630 | double-ended stud | 2 | Equipped with a gearbox belt | ||||||||||||||
| 12 | DZ9114598696 | Right Bracket Assembly | 1 | |||||||||||||||
| 13 | Q33208 | Type 2 all metal hexagonal lock nut | 4 | |||||||||||||||
| 14 | Q150B0820Q | hex head bolt | 4 | |||||||||||||||