
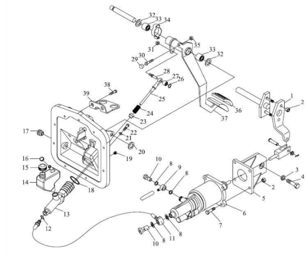
| 1 | DZ9112230020 | Release arm | 1 | SX3315UM366 | ||
| 2 | Q33210 | Nut | 6 | lightweight | ||
| 3 | Q40314 | Spring washer | 2 | |||
| 4 | Q151B1435 | Hex. screw | 2 | |||
| 5 | DZ9112230029 | Bracket | 1 | |||
| 6 | DZ9112230166 | Operating cylinder | 1 | |||
| 7 | Q150B1045 | Hex. screw | 4 | |||
| 8 | Q72314 T5F | Gasket | 4 | |||
| 9 | 199100270118 | Hose plug | 1 | |||
| 10 | 190003962621 | Hollow bolt | 2 | |||
| 11 | DZ93259230254 | Hose | 1 | |||
| 12 | DZ9112230212 | Spring | 2 | |||
| 13 | DZ9114230022 | Clutch main cylinder | 1 | |||
| 14 | DZ9114230021 | Ciquid container | 1 | |||
| 15 | 81.90310.6001 | Lock couer assembly | 1 | |||
| 16 | 81.96410.0197 | Seal ring | 1 | |||
| 17 | 81.96002.0131 | Plug | 2 | |||
| 18 | 06.56930.1973 | Toric seal | 1 | |||
| 19 | 81.96002.0384 | Plug | 1 | |||
| 20 | 06.29050.0116 | Lock washer | 1 | |||
| 21 | 06.15013.0411 | Washer | 2 | |||
| 22 | 06.01283.3113 | Hex. screw | 2 | |||
| 23 | 81.97680.0072 | Spring seat | 1 | |||
| 24 | 06.46080.0422 | Pressure spring | 1 | |||
| 25 | 81.91020.0686 | Tappet | 1 | |||