
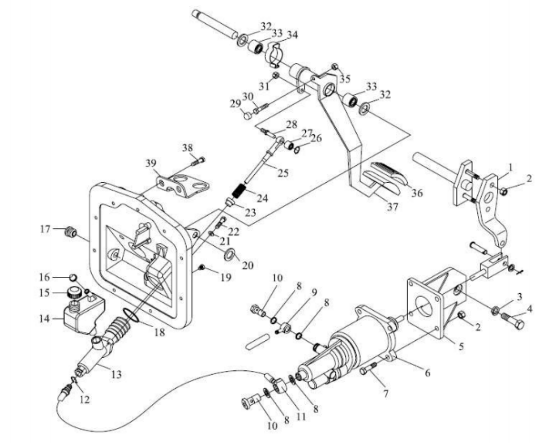
| 26 | 06.29050.0111 | Circlip | 1 | SX3255BM384 | ||
| 27 | 06.33719.0018 | Needle bearing | 1 | |||
| 28 | 81.91020.0611 | Threaded pin | 1 | |||
| 29 | 81.96020.0369 | Rubber pad | 1 | |||
| 30 | 06.01283.3115 | Hex. screw | 1 | |||
| 31 | 06.11240.0406 | Hex lock nut | 1 | |||
| 32 | 06.15114.0418 | Adjusting washer | 2 | |||
| 33 | 06.33719.0005 | Needle bearing | 2 | |||
| 34 | 81.97640.0273 | Spring clamp | 3 | |||
| 35 | 06.11064.2114 | Hex. nut | 1 | |||
| 36 | 81.48227.0006 | Pedal covering | 1 | |||
| 37 | DZ92189230010 | Clutch pedal assembly | 1 | |||
| 38 | 06.07069.0007 | Hex. lock screw | 2 | |||
| 39 | DZ92189230040 | Sensor bracket | 1 | |||