Facebook

SHACMAN PUSH CLUTCH CONTROL DEVICE-10

By ALEX-86 16215315999 December 26th, 2025 79 views
we are very professional in spare parts for 20 years, welcome to send inquiry list to get lowest price and good quality parts
Whatsapp:   +0086 16215315999 
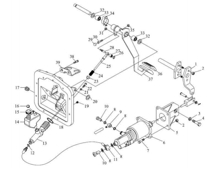
26  06.29050.0111 Circlip SX4255UM294
27  06.33719.0018 Needle bearing lightweight
28  81.91020.0611 Threaded pin
29  81.96020.0369 Rubber pad
30  06.01283.3115 Hex. screw
31  06.11240.0406 Hex lock nut
32  06.15114.0418 Adjusting washer
33  06.33719.0005 Needle bearing
34  81.97640.0273 Spring clamp
35  06.11064.2114 Hex. nut
36  81.48227.0006 Pedal covering
37  DZ92189230010 Clutch pedal assembly
38  06.07069.0007 Hex. lock screw
39  DZ92189230040 Sensor bracket
SHACMAN PUSH CLUTCH CONTROL DEVICE-9
Previous
SHACMAN PUSH CLUTCH CONTROL DEVICE-9
Read More
SHACMAN PUSH DIAPHRAGM CLUTCH-6
Next
SHACMAN PUSH DIAPHRAGM CLUTCH-6
Read More