
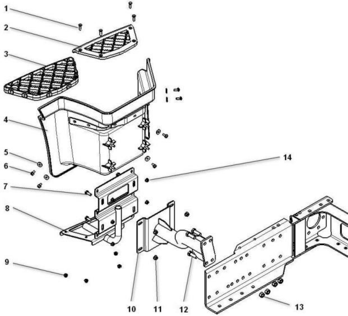
| 1 | Q150B0825 | hex head bolt | 4 | |||||||||||||||||||||||||
| 2 | DZ15221242464 | Step down (DZ22408450015) | 1 | |||||||||||||||||||||||||
| 3 | DZ15221242462 | Step up (DZ22408450011) | 1 | |||||||||||||||||||||||||
| 4 | DZ15221242453 | Left lower door step (DZ22405410051) | 1 | |||||||||||||||||||||||||
| 5 | Q40208 | Big washer | 6 | |||||||||||||||||||||||||
| 6 | Q2140820 | Cross groove pan head screw | 6 | |||||||||||||||||||||||||
| 7 | Q150B1025 | hex head bolt | 4 | |||||||||||||||||||||||||
| 8 | DZ15221242635 | Support bracket assembly (left) | 1 | |||||||||||||||||||||||||
| 9 | Q32008 | Hexagonal flange nut | 4 | |||||||||||||||||||||||||
| 10 | DZ15221242720 | Installation bracket assembly (left) | 1 | |||||||||||||||||||||||||
| 11 | Q32010 | Hexagonal flange nut | 4 | |||||||||||||||||||||||||
| 12 | Q150B1440 | hex head bolt | 4 | |||||||||||||||||||||||||
| 13 | Q33414T13F2 | Type 1 all metal hexagonal lock nut | 4 | |||||||||||||||||||||||||
| 14 | Q32008 | Hexagonal flange nut | 6 | |||||||||||||||||||||||||