
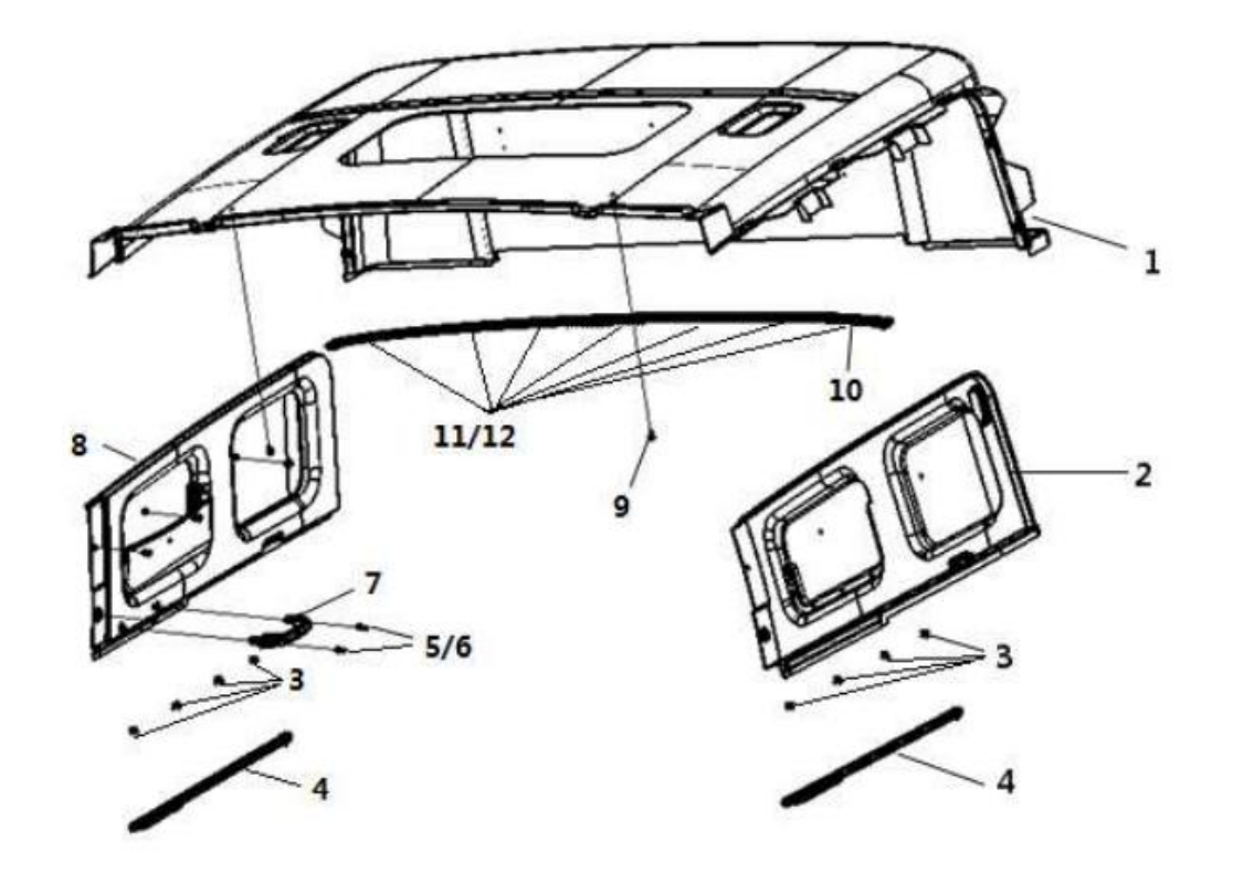
| 1 | DZ15221611011 | High top lining (HP22405720010) | 1 | |||||||||||||||||||||
| 2 | DZ15221611012 | Left Top Assembly (HP22405720030) | 2 | |||||||||||||||||||||
| 3 | DZ15221611016 | Side window rail fixing seat | 4 | |||||||||||||||||||||
| 4 | DZ15221611015 | Side window guide rail assembly | 2 | |||||||||||||||||||||
| 5 | Q2140650 | Cross groove pan head screw | 2 | |||||||||||||||||||||
| 6 | Q40206 | large washer | 2 | |||||||||||||||||||||
| 7 | DZ15221611017 | Roof handle | 1 | |||||||||||||||||||||
| 8 | DZ15221611020 | Right top assembly | 1 | |||||||||||||||||||||
| 9 | DZ13241610246 | snap fastener | 30 | |||||||||||||||||||||
| 10 | DZ15221611018 | Sleeper curtain rail assembly | 1 | |||||||||||||||||||||
| 11 | Q398B04 | A-type through-hole embedded plastic nut | 7 | |||||||||||||||||||||
| 12 | Q2734816 | Cross groove semi round head self tapping screw | 7 | |||||||||||||||||||||