
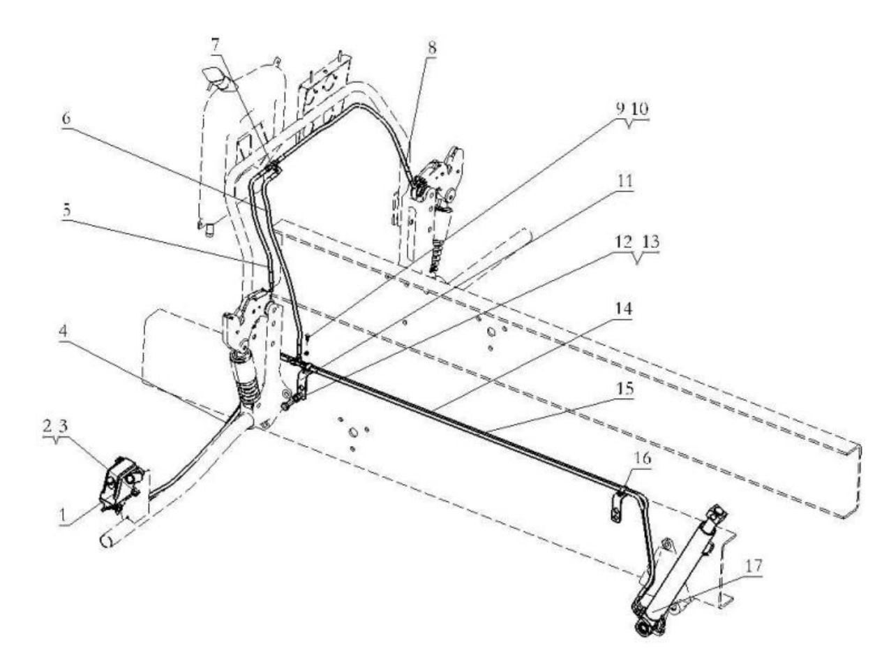
| 1 | 199100820025 | Hydraulic manual pump | 1 | ||||||||||||||||||||||||||||||||
| 2 | Q150B1025Q | Hex screw | 3 | ||||||||||||||||||||||||||||||||
| 3 | Q33210 | Locking nut | 3 | ||||||||||||||||||||||||||||||||
| 4 | DZ93259820026 | Oil fecding pipe | 1 | ||||||||||||||||||||||||||||||||
| 5 | DZ93259820046 | Oil fecding pipe | 1 | ||||||||||||||||||||||||||||||||
| 6 | DZ93259820045 | Oil fecding pipe | 1 | ||||||||||||||||||||||||||||||||
| 7 | 90003559482 | Three soint | 2 | ||||||||||||||||||||||||||||||||
| 8 | DZ93259820039 | Oil fecding pipe | 1 | ||||||||||||||||||||||||||||||||
| 9 | Q150B0616 | Hex screw | 2 | ||||||||||||||||||||||||||||||||
| 10 | Q33206 | Locking nut | 2 | ||||||||||||||||||||||||||||||||
| 11 | SZ182000762 | clamp | 2 | ||||||||||||||||||||||||||||||||
| 12 | Q151B1440 | Hex screw | 2 | ||||||||||||||||||||||||||||||||
| 13 | Q33214 | Locking nut | 2 | ||||||||||||||||||||||||||||||||
| 14 | DZ93259820025 | Oil fecding pipe | 1 | ||||||||||||||||||||||||||||||||
| 15 | DZ93259820027 | Oil fecding pipe | 1 | ||||||||||||||||||||||||||||||||
| 16 | DZ9100770423 | Fixed clamp | 2 | ||||||||||||||||||||||||||||||||
| 17 | DZ93259820105 | Tilting cylinder | 1 | ||||||||||||||||||||||||||||||||
| 18 | 90003171356 | Plastic fastening strap | 4 | ||||||||||||||||||||||||||||||||