
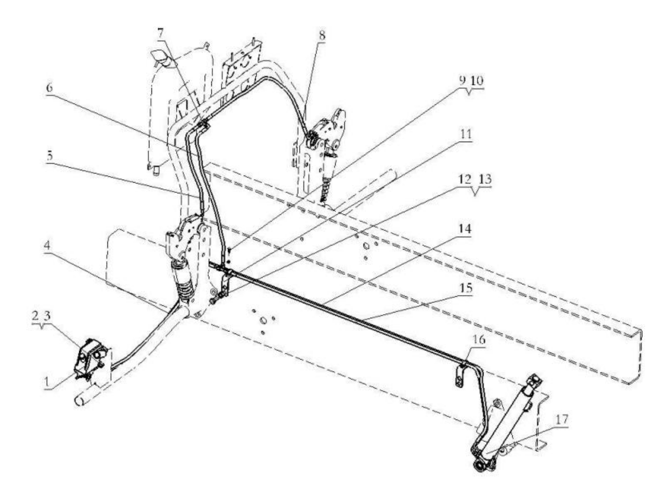
| 1 | 199100820025 | Hydraulic manual oil pump | 1 | |||||||||||||||||||||
| 2 | Q150B1025Q | hex head bolt | 3 | |||||||||||||||||||||
| 3 | Q33210 | Type II all metal hexagonal lock nut | 3 | |||||||||||||||||||||
| 4 | DZ93259820026 | high-pressure hose | 1 | |||||||||||||||||||||
| 5 | DZ93259820046 | high-pressure hose | 1 | |||||||||||||||||||||
| 6 | DZ93259820045 | high-pressure hose | 1 | |||||||||||||||||||||
| 7 | 90003559482 | Card sleeve type three-way pipe joint | 2 | |||||||||||||||||||||
| 8 | DZ93259820039 | high-pressure hose | 1 | |||||||||||||||||||||
| 9 | Q150B0616 | hex head bolt | 2 | |||||||||||||||||||||
| 10 | Q33206 | Type II all metal hexagonal lock nut | 2 | |||||||||||||||||||||
| 11 | SZ182000762 | clamp | 2 | |||||||||||||||||||||
| 12 | Q151B1440 | hex head bolt | 2 | |||||||||||||||||||||
| 13 | Q33214 | Type II all metal hexagonal lock nut | 2 | |||||||||||||||||||||
| 14 | DZ93259820025 | high-pressure hose | 1 | |||||||||||||||||||||
| 15 | DZ93259820027 | high-pressure hose | 1 | |||||||||||||||||||||
| 16 | DZ9100770423 | Fixed clamp | 2 | |||||||||||||||||||||
| 17 | DZ93259820105 | Flip cylinder | 1 | |||||||||||||||||||||
| 18 | 90003171356 | Plastic fastening tape | 4 | |||||||||||||||||||||