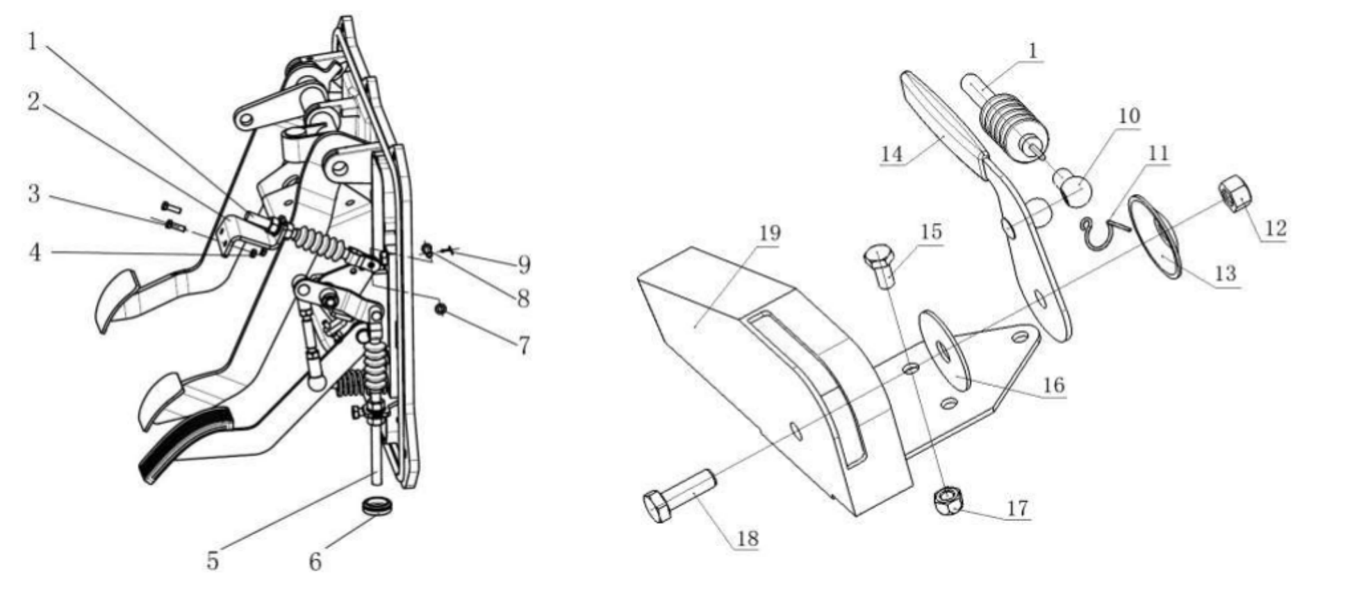
we are very professional in spare parts for 20 years, welcome to send inquiry list to get lowest price and good quality parts| 1 | DZ93189575008 | Hand throttle cable | 1 | ||||||||||||||||||||||
| 2 | DZ96189570052 | Cable support bracket | 1 | ||||||||||||||||||||||
| 3 | Q150B0512 | hex head bolt | 2 | ||||||||||||||||||||||
| 4 | Q33205 | Type 2 all metal hexagonal lock nut | 2 | ||||||||||||||||||||||
| 5 | DZ93189575007 | Throttle cable | 1 | ||||||||||||||||||||||
| 6 | DZ96189570010 | sheath | 1 | ||||||||||||||||||||||
| 7 | Q40006 | small washer | 1 | ||||||||||||||||||||||
| 8 | Q5100618 | pin shaft | 1 | ||||||||||||||||||||||
| 9 | Q5001610 | cotter pin | 1 | ||||||||||||||||||||||
| 10 | 190003963616 | Spherical joint with locking ring | 1 | ||||||||||||||||||||||
| 11 | 190003936513 | clamp | 1 | ||||||||||||||||||||||
| 12 | Q33210 | Type 2 all metal hexagonal lock nut | 1 | ||||||||||||||||||||||
| 13 | 118000530009 | Disc-shaped spring | 1 | ||||||||||||||||||||||
| 14 | DZ97189570502 | handle assembly | 1 | ||||||||||||||||||||||
| 15 | Q150B0816 | hex head bolt | 3 | ||||||||||||||||||||||
| 16 | 118800570074 | Friction disk | 1 | ||||||||||||||||||||||
| 17 | Q33208 | Type 2 all metal hexagonal lock nut | 3 | ||||||||||||||||||||||
| 18 | Q150B1030 | hex head bolt | 1 | ||||||||||||||||||||||
| 19 | DZ97189570501 | Hand throttle bracket assembly | 1 | ||||||||||||||||||||||