
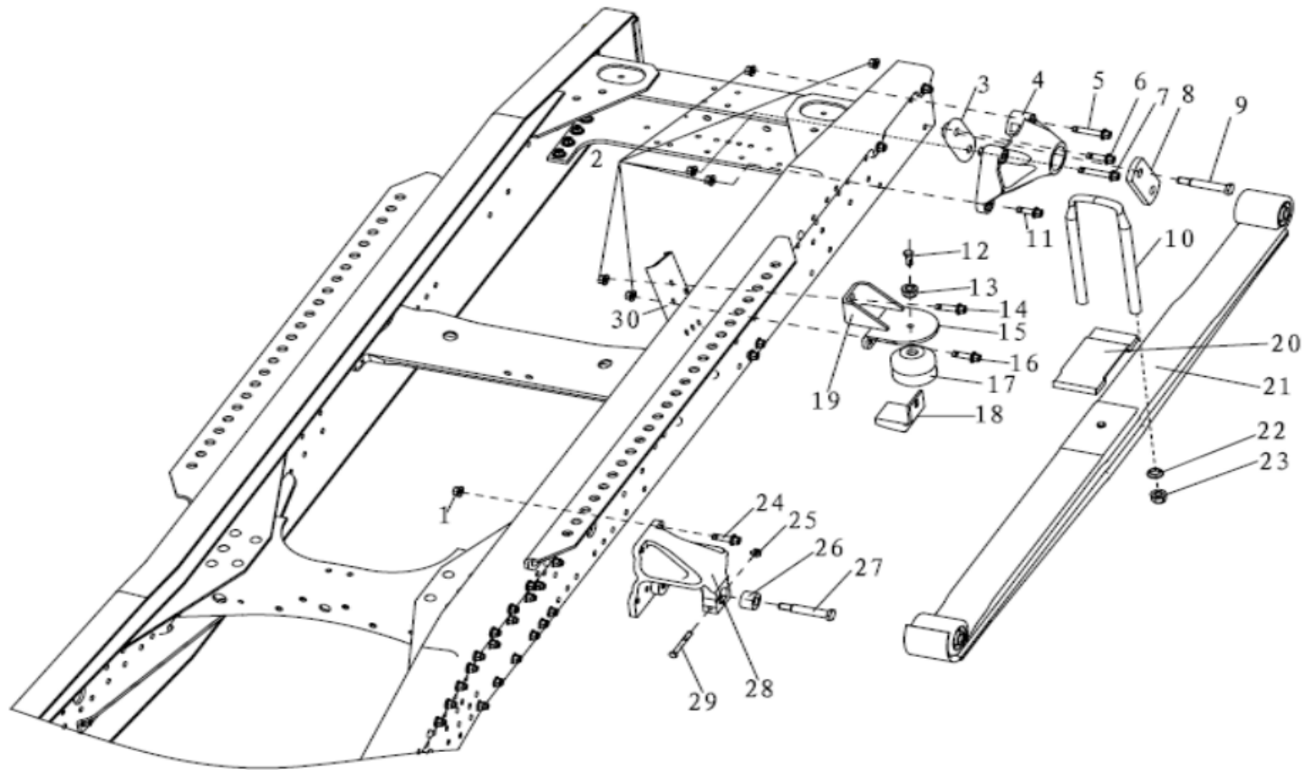
| 20 | 81.41335.0058 | Rear plate spring clamping plate | 2 | |||||||
| 21 | DZ95259520003 | Rear steel plate spring assembly | 2 | |||||||
| 22 | 81.90712.0036 | Ball washer | 8 | |||||||
| 23 | 06.11289.0005 | Hexagonal self-locking nut M24*2 | 8 | |||||||
| 24 | Q1811445T | Hexagonal flange bearing face toothed bolt | 12 | |||||||
| 25 | Q33010T13F2 | Hexagonal locking nut | 2 | |||||||
| 26 | 81.41304.0054 | bushing | 2 | |||||||
| 27 | 06.02839.0015 | hex head bolt M24*2*170 | 2 | |||||||
| 28 | DZ95189520043 | Rear panel spring front bracket | 2 | |||||||
| 29 | Q150B1090TF2 | hex head bolt | 2 | |||||||
| 30 | DZ95189520006 | backing board | 2 | |||||||