
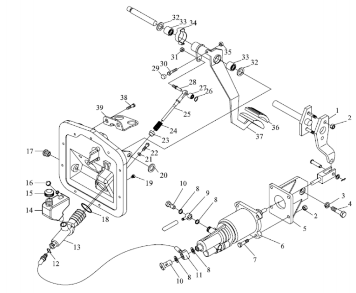
| 1 | DZ9112230021 | Release arm | 1 | SX4187GL361 | |
| 2 | Q33210 | Nut | 6 | SX4257GN324 | |
| 3 | Q40314 | Spring washer | 2 | ||
| 4 | Q151B1435 | Hex. screw | 2 | ||
| 6 | DZ9112230166 | Operating cylinder | 1 | ||
| 7 | Q150B1045 | Hex. screw | 4 | ||
| 8 | Q72314 T5F | Gasket | 4 | ||
| 9 | 199100270118 | Hose plug | 1 | ||
| 10 | 190003962621 | Hollow bolt | 2 | ||
| 11 | DZ93259230420 | Hose | 1 | ||
| 12 | DZ9112230212 | Spring | 2 |