Sign In
Or
Sign Up
Home
Products
Products
SINOTRUK HOWO Parts
SINOTRUK HOWO Parts
Engine Parts
Clutch & Pedal
Cabin & Body
SHACMAN Spare Parts (XI an)
SHACMAN Spare Parts (XI an)
Engine Parts
Clutch & Pedal
Cabin & Body
FOTON parts(FORLAND)
FAW Parts
DONGFENG Parts
BEIBENG Parts
OTHERS
All Cases
Contact Us
About Us
Catalogue
Catalogue
HOWO catalogue
HOWO catalogue
NEW HOWO
HOWO ENGINE
SHACMAN
SHACMAN
F2000
F3000
M3000
NEW M3000
H3000
XIAN
Language
Get a quote
Language
English
Français
Español
Русский
Português
ဗမာ
ไทย
Tiếng Việt
عربي
Indonesian
Home
Products
SINOTRUK HOWO Parts
Engine Parts
Clutch & Pedal
Cabin & Body
SHACMAN Spare Parts (XI an)
Engine Parts
Clutch & Pedal
Cabin & Body
FOTON parts(FORLAND)
FAW Parts
DONGFENG Parts
BEIBENG Parts
OTHERS
All Cases
Contact Us
About Us
Catalogue
HOWO catalogue
NEW HOWO
HOWO ENGINE
SHACMAN
F2000
F3000
M3000
NEW M3000
H3000
XIAN
English
Français
Español
Русский
Português
ဗမာ
ไทย
Tiếng Việt
عربي
Indonesian
Language
English
Français
Español
Русский
Português
ဗမာ
ไทย
Tiếng Việt
عربي
Indonesian
Get a quote
Home
>
Blog
>
SHACMAN F3000
>
SHACMAN F3000 TRANSVERSE CURTAIN-1
SHACMAN F3000 TRANSVERSE CURTAIN-1
By ALEX-86 16215315999
October 25th, 2025
80 views
we are very professional in spare parts for 20 years, welcome to send inquiry list to get lowest price and good quality parts
Whatsapp: +0086 16215315999
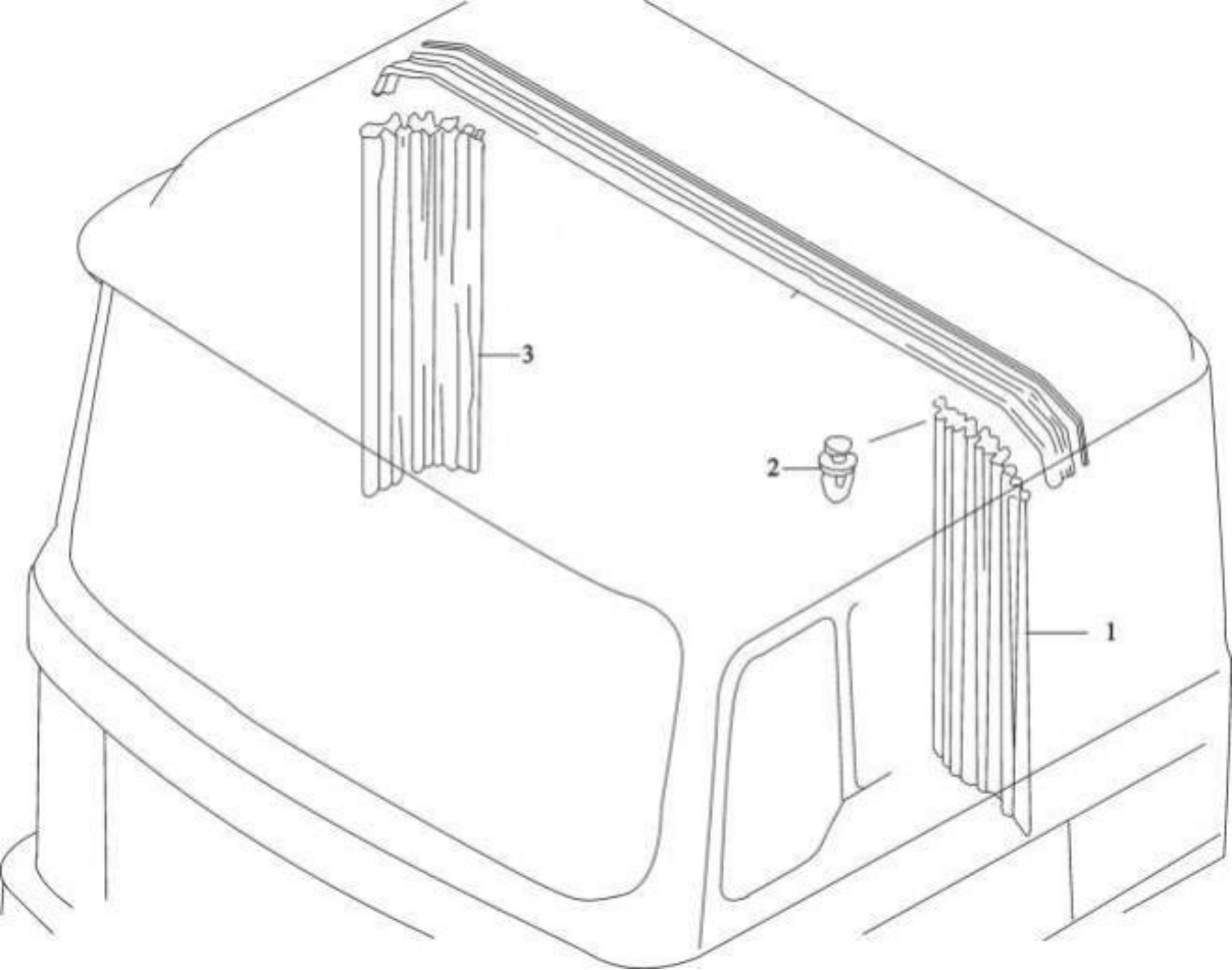
1
81.62101.5066
Transverse curtain assembly
left
1
Used for high top N cab
2
DZ13241570106
Glider
30
Used for high top N cab
3
81.62102.5049
Transverse curtain assembly
right
1
facebook
line
twitter
whatsapp
pinterest
tumblr
linkedin
Previous
SHACMAN F3000 AIL-ROUND CURTAIN-1
Read More
Next
SHACMAN F3000 LUGGAGE RACK-1
Read More
Archives
February 2026
January 2026
December 2025
November 2025
October 2025
September 2025
Categories
SHACMAN F2000
SHACMAN F3000
HOWO-NEW MODEL-CABS
HOWO-NEW MODEL-ENGINE
HOWO-NEW MODEL-TRANSMISSION
HOWO-NEW MODEL-MIDDLE REAR AXLE
HOWO-NEW MODEL-DRIVE AXLE
HOWO-NEW MODEL-FRONT AXLE
HOWO-NEW MODEL-FRONT AND REAR SUSPENSION
HOWO-NEW MODEL-ELECTRICAL EQUIPMENT
HOWO-NEW MODEL-BRAKE
HOWO-NEW MODEL-OTHER
QUANCHAI QC380D
SHACMAN M3000
SHACMAN NEW M3000
SHACMAN
HOWO
008616215315999