
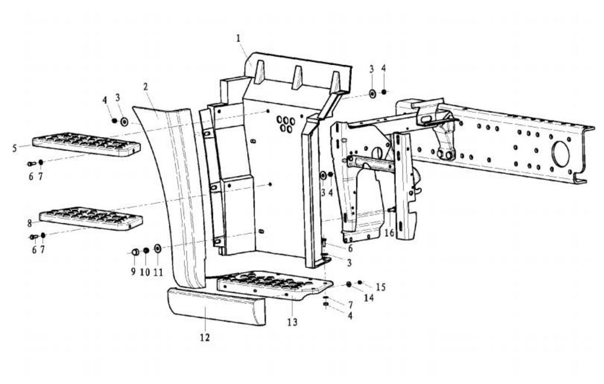
| 1 | DZ1640240297 | Step left | 1 | ||||||||||||||||||
| 2 | DZ13241240423 | Trim assembly left upper | 1 | ||||||||||||||||||
| 3 | Q40208 | Washer | 18 | ||||||||||||||||||
| 4 | Q340B08 | Hexagon nut | 18 | ||||||||||||||||||
| 5 | DZ13241240671 | Step left upper | 1 | ||||||||||||||||||
| 6 | Q150B0822 | Hex bolt | 14 | ||||||||||||||||||
| 7 | Q40108T16 | Washer | 14 | ||||||||||||||||||
| 8 | DZ13241240673 | Step left center | 1 | ||||||||||||||||||
| 9 | 88.96002.0027 | Cover hexagon nut | 4 | ||||||||||||||||||
| 10 | Q33410 | Hexagon nut | 4 | ||||||||||||||||||
| 11 | Q40210 | Washer | 4 | ||||||||||||||||||
| 12 | DZ13241240421 | Trim assembly left lower | 1 | ||||||||||||||||||
| 13 | DZ13241240680 | Step left lower | 1 | ||||||||||||||||||
| 14 | Q40206 | Washer | 3 | ||||||||||||||||||
| 15 | Q340B06 | Hexagon nut | 3 | ||||||||||||||||||
| 16 | Q150B1025 | Hex bolt | 4 | ||||||||||||||||||