
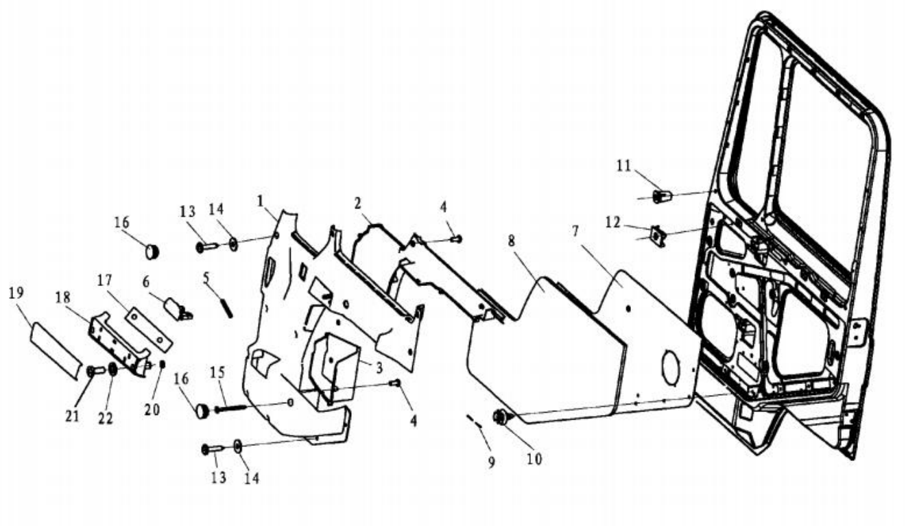
| 1 | DZ13241330220 | Right center decorative panel assembly | 1 | ||||||||||||||
| 2 | DZ13241330220 | ||||||||||||||||
| 3 | DZ13241330220 | ||||||||||||||||
| 4 | Q2724295 | Pan head screw | 12 | ||||||||||||||
| 5 | 81.97610.0288 | extension spring | 1 | ||||||||||||||
| 6 | DZ13241330220 | ||||||||||||||||
| 7 | DZ13241330260 | Right door interior guard assembly | 1 | ||||||||||||||
| 8 | DZ13241330260 | ||||||||||||||||
| 9 | 09.81010.0017 | Industrial nail needles | 16 | ||||||||||||||
| 10 | 81.62640.0092 | Clamp | 5 | ||||||||||||||
| 11 | 81.90685.0374 | Plastic square nut | 10 | ||||||||||||||
| 12 | 06.13189.0056 | Spring nut | 2 | ||||||||||||||
| 13 | 06.07159.0008 | Pan head screw | 15 | ||||||||||||||
| 14 | Q40205 | large washer | 11 | ||||||||||||||
| 15 | 06.07159.0010 | self-tapping screw | 1 | ||||||||||||||
| 16 | DZ13241330415 | block | 4 | ||||||||||||||
| 17 | DZ13241330240 | Right door armrest assembly | 1 | ||||||||||||||
| 18 | DZ13241330240 | ||||||||||||||||
| 19 | DZ13241330132 | Door armrest outer panel (right) | 1 | ||||||||||||||
| 20 | |||||||||||||||||
| 21 | Q2726316 | Cross groove pan head self tapping screw | 2 | ||||||||||||||
| 22 | Q40108 | flat washer | 2 | ||||||||||||||