
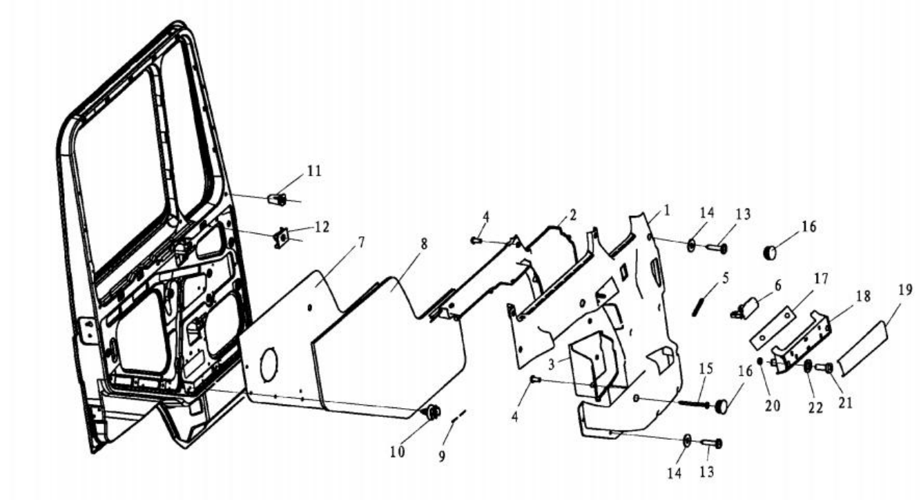
| 1 | DZ13241330210 | Left center decorative panel assembly | 1 | |||||||||||||||
| 2 | DZ13241330210 | |||||||||||||||||
| 3 | DZ13241330210 | |||||||||||||||||
| 4 | Q2724295 | pan head screw | 12 | |||||||||||||||
| 5 | 81.97610.0288 | extension spring | 1 | |||||||||||||||
| 6 | DZ13241330210 | 1 | ||||||||||||||||
| 7 | DZ13241330250 | Left door interior guard assembly | 1 | |||||||||||||||
| 8 | DZ13241330250 | 1 | ||||||||||||||||
| 9 | 09.81010.0017 | Industrial nail needles | 16 | |||||||||||||||
| 10 | 81.62640.0092 | Clamp | 5 | |||||||||||||||
| 11 | 81.90685.0374 | Plastic square nut | 10 | |||||||||||||||
| 12 | 06.13189.0056 | clip nut | 2 | |||||||||||||||
| 13 | 06.07159.0008 | pan head screw | 15 | |||||||||||||||
| 14 | Q40205 | large washer | 11 | |||||||||||||||
| 15 | 06.07159.0010 | self-tapping screw | 1 | |||||||||||||||
| 16 | DZ13241330415 | block | 4 | |||||||||||||||
| 17 | DZ13241330230 | Left door armrest assembly | 1 | |||||||||||||||
| 18 | DZ13241330230 | 1 | ||||||||||||||||
| 19 | DZ13241330131 | Door armrest outer panel (left) | 1 | |||||||||||||||
| 20 | ||||||||||||||||||
| 21 | Q2726316 | Cross groove pan head self tapping screw | 2 | |||||||||||||||
| 22 | Q40108 | flat washer | 2 | |||||||||||||||