
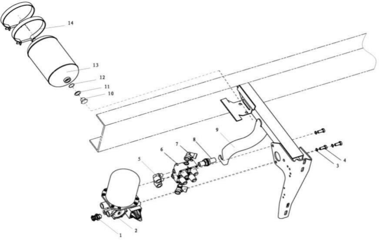
| 1 | DZ9100360428 | Nozzle | 1 | |||||||||||
| 2 | DZ95189362020 | Air dryer | 1 | Suitable for Cummins engines (unloading inside air compressors) | ||||||||||
| DZ91189360016 | Air dryer | 1 | Suitable for Weichai engines (external unloading of air compressors) | |||||||||||
| 3 | Q41212 | Washer | 3 | |||||||||||
| 4 | Q151C1225 | Hex.screw | 3 | |||||||||||
| 5 | 81.98183.6217 | Plug connection | 2 | |||||||||||
| 6 | 81.52151.6094 | Four---loop guardvalve | 1 | |||||||||||
| 7 | 81.98183.6283 | W---plug connection | 2 | |||||||||||
| 8 | DZ9100360445 | Nozzle | 1 | |||||||||||
| 9 | 81.41890.5119 | Bracket | 1 | |||||||||||
| 10 | 190003962038 | Hex.screw | 1 | |||||||||||
| 11 | 199100360319 | Taper ring | 1 | |||||||||||
| 12 | 168000250092 | Seal ring | 1 | |||||||||||
| 13 | 81.51401.0194 | 4Lair tank | 1 | |||||||||||
| 14 | 06.67760.0514 | Clup | 2 | |||||||||||