
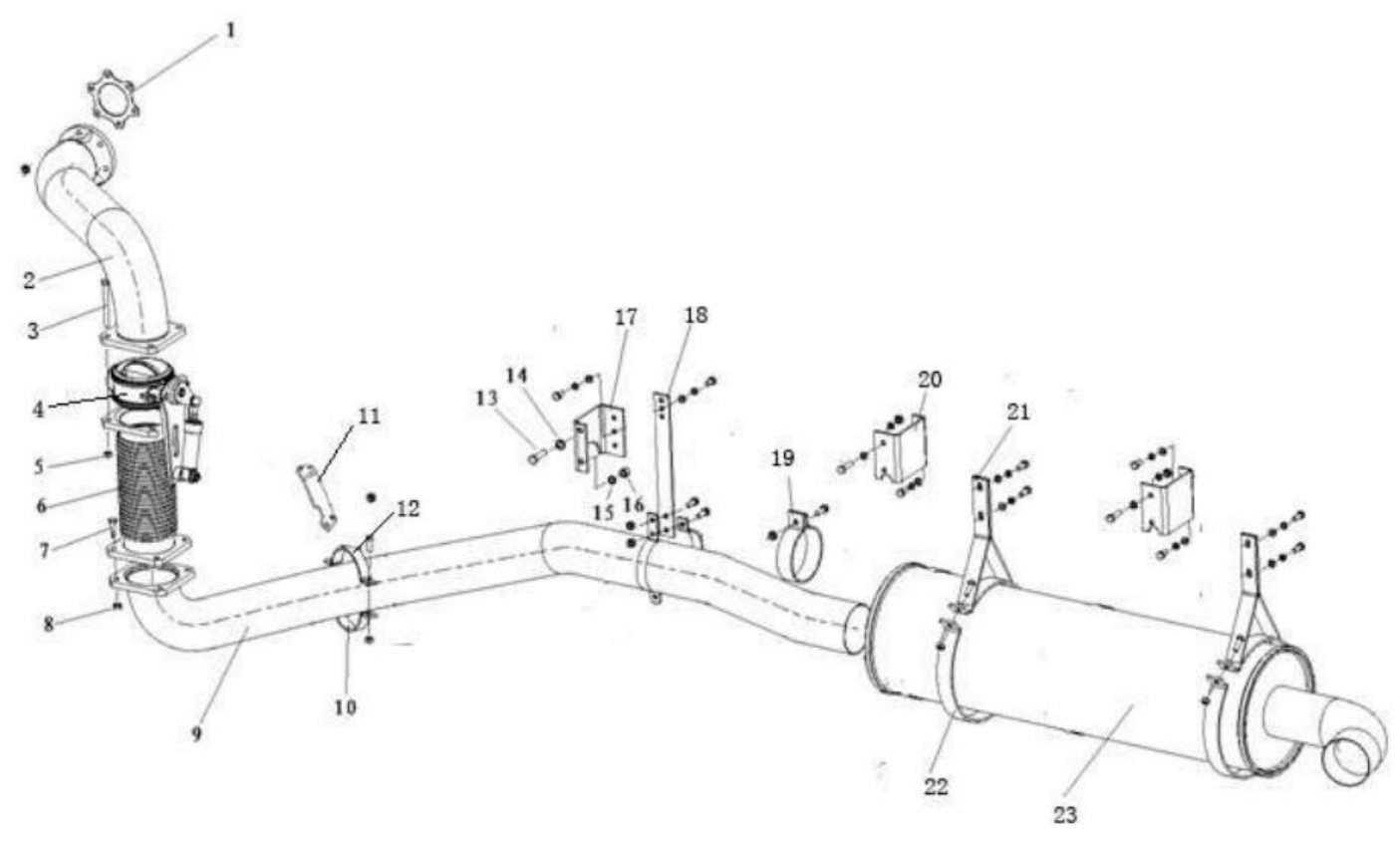
| 1 | 199112540015 | gasket | 1 | ||
| 2 | SZ954001141 | Exhaust pipe assembly (1) | 1 | ||
| 3 | Q150B1095 | hex head bolt | 4 | ||
| 4 | DZ93189180009 | Engine exhaust brake assembly | 1 | ||
| 5 | 190003888470 | self-locking nut | 4 | ||
| 6 | DZ95259540019 | Flange corrugated pipe | 1 | ||
| 7 | Q150B1045 | hex head bolt | 4 | ||
| 8 | Q33210 | Type 2 all metal hexagonal lock nut | 20 | ||
| 9 | DZ91319540010 | Exhaust pipe assembly (II) | 1 | ||
| 10 | 199112540161 | clamp | 2 | ||
| 11 | DZ91319540001 | angle plate | 1 | ||
| 12 | 199112540162 | clamp | 2 | ||
| 13 | Q150B1030 | hex head bolt | 14 | ||
| 14 | Q40110 | flat washer | 14 | ||
| 15 | Q40310 | spring washer | 14 | ||
| 16 | Q33210 | Type 2 all metal hexagonal lock nut | 20 | ||
| 17 | DZ9118545366 | bracket | 1 | ||
| 18 | DZ93319540016 | straps | 1 | ||
| 19 | 190003999960 | pipe clamp | 1 | ||
| 20 | DZ93319540050 | bracket | 2 | ||
| 21 | DZ9118540080 | bracket assembly | 2 | ||
| 22 | 199000540061 | clamp | 2 | ||
| 23 | DZ9100540016 | Exhaust muffler | 1 |