
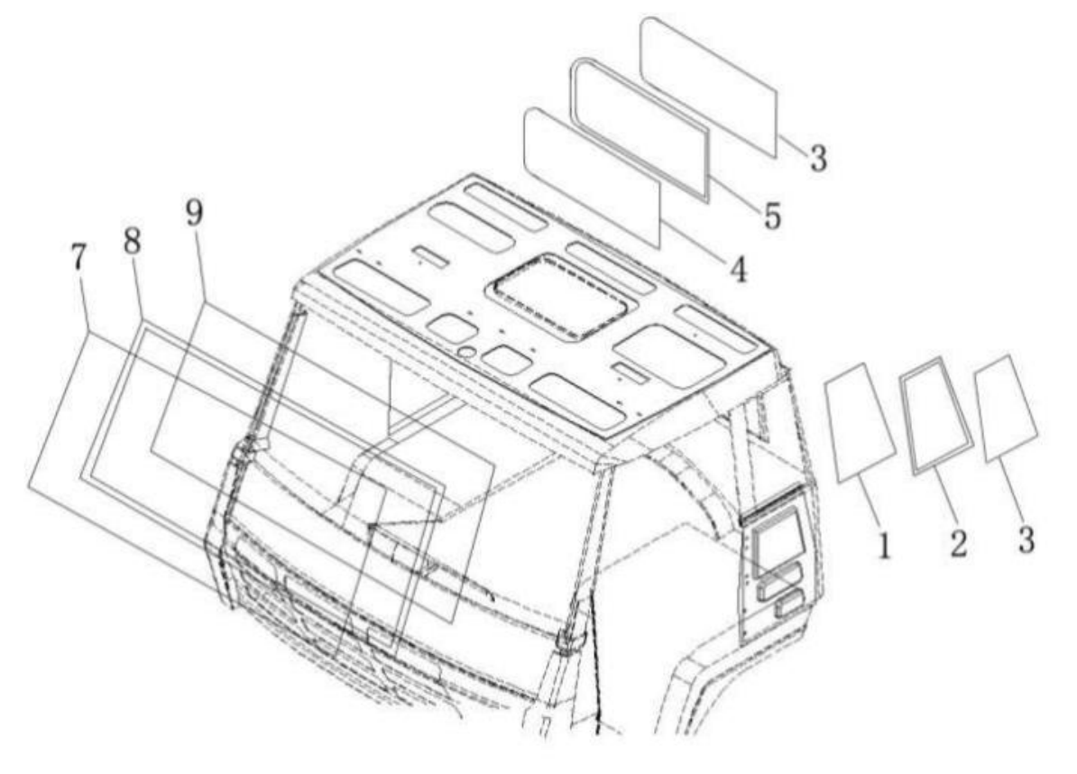
| 1 | DZ1600710013/14 | T/Side window glass (left)/(right) | 1 | Suitable for B-type cab | ||||||||||||||||||||||||||||||||||||||||||||||||||||||||||||||||||
| DZ12241710102/0103 | Left/right side window opaque glass | 1 | Suitable for U-type cab | |||||||||||||||||||||||||||||||||||||||||||||||||||||||||||||||||||
| 2 | DZ11241710017 | Side window glass sealing strip | 2 | Suitable for B-type cab | ||||||||||||||||||||||||||||||||||||||||||||||||||||||||||||||||||
| 3 | DZ11241710020 | Side window glass sealing strip | 2 | Suitable for U-type cab | ||||||||||||||||||||||||||||||||||||||||||||||||||||||||||||||||||
| DZ11241710013 | welt | 4.2 M | Suitable for B/U/T/L-type cab | |||||||||||||||||||||||||||||||||||||||||||||||||||||||||||||||||||
| 4 | DZ1600710011/12 | Rear window glass (left)/(right) | 1 | Suitable for B/U/T/L-type cab | ||||||||||||||||||||||||||||||||||||||||||||||||||||||||||||||||||
| 5 | DZ11241710021 | Rear window glass sealing strip | 2 | Suitable for B/U/T/L-type cab | ||||||||||||||||||||||||||||||||||||||||||||||||||||||||||||||||||
| 7 | DZ11241710019 | Windshield sealing strip | 5.8 M | Suitable for B/U/T/L-type cab | ||||||||||||||||||||||||||||||||||||||||||||||||||||||||||||||||||
| 8 | DZ11241710012 | Windshield glass sealing strip | 1 | Suitable for B/U/T/L-type cab | ||||||||||||||||||||||||||||||||||||||||||||||||||||||||||||||||||
| 9 | DZ1600717001 | T/with antenna windshield glass | 1 | Suitable for B/U/T/L-type cab | ||||||||||||||||||||||||||||||||||||||||||||||||||||||||||||||||||