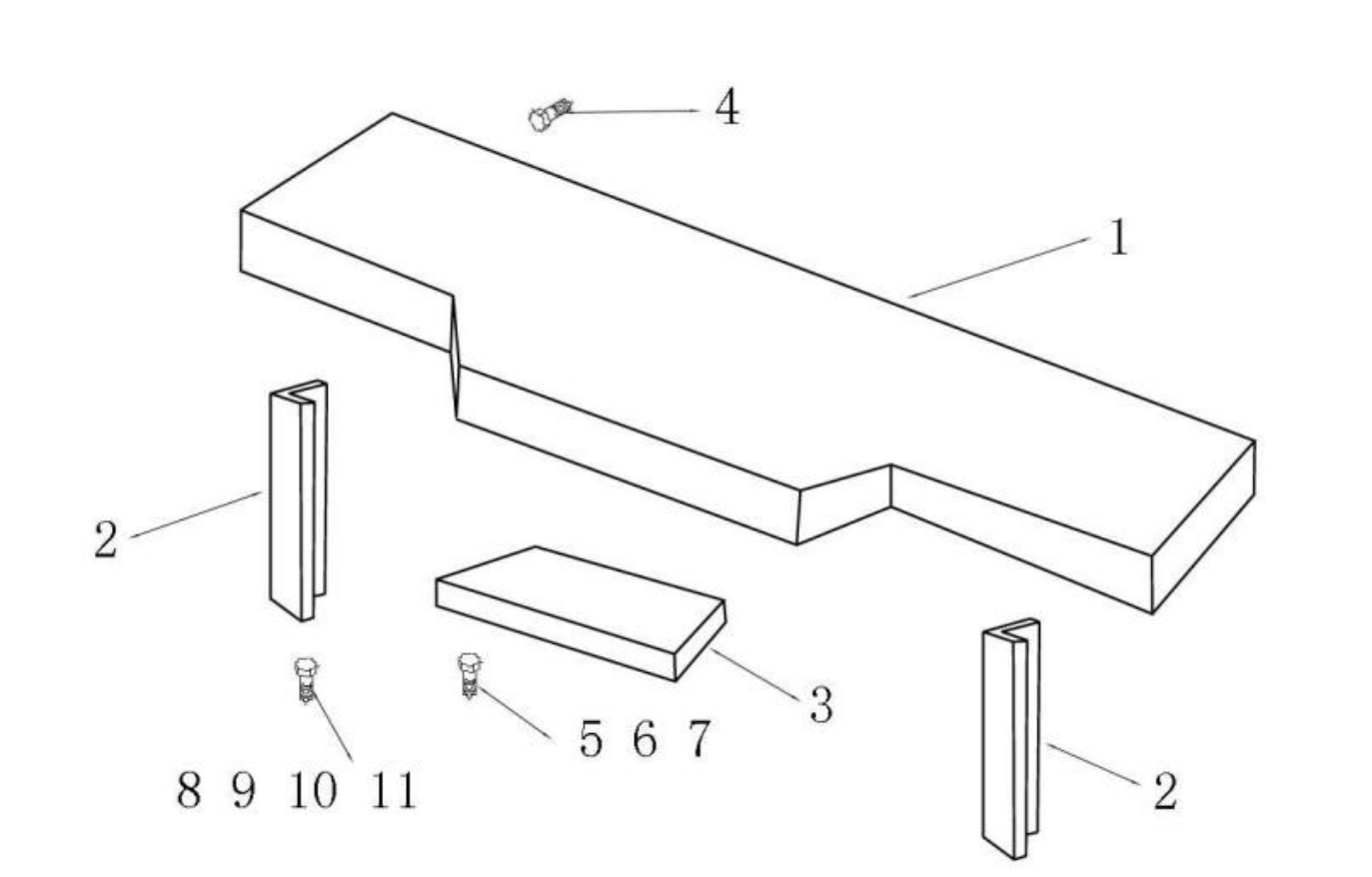
we are very professional in spare parts for 20 years, welcome to send inquiry list to get lowest price and good quality parts| 1 | DZ11241570011 | Lower berth assembly/new interior | 1 | |||||||||||||||||||||||||||||||||||||||||||||||||||||||
| 2 | DZ1672570020 | Pillar assembly | 2 | |||||||||||||||||||||||||||||||||||||||||||||||||||||||
| 3 | DZ1692570029 | Laying bracket assembly | 1 | |||||||||||||||||||||||||||||||||||||||||||||||||||||||
| 4 | Q150B0830 | hex head bolt | 4 | |||||||||||||||||||||||||||||||||||||||||||||||||||||||
| 5 | Q40108 | flat washer | 4 | |||||||||||||||||||||||||||||||||||||||||||||||||||||||
| 6 | Q150B1225 | hex head bolt | 4 | |||||||||||||||||||||||||||||||||||||||||||||||||||||||
| 7 | Q40308 | spring washer | 4 | |||||||||||||||||||||||||||||||||||||||||||||||||||||||
| 8 | Q40312 | spring washer | 2 | |||||||||||||||||||||||||||||||||||||||||||||||||||||||
| 9 | Q40212 | large washer | 2 | |||||||||||||||||||||||||||||||||||||||||||||||||||||||
| 10 | Q150B1255 | hex head bolt | 2 | |||||||||||||||||||||||||||||||||||||||||||||||||||||||
| 11 | Q340B12 | Type 1 hex nut | 2 | |||||||||||||||||||||||||||||||||||||||||||||||||||||||